 2020-03-22 13:12:28    来源:投资家网  作者:
2020-03-22 13:12:28    来源:投资家网  作者:  摘要:近日,世界著名的法国传染病专家、迪迪尔拉乌尔特(Didierraoult)博士,发现了一种能够有效治疗新冠病毒的药物组合一——“羟氯喹+阿奇霉素"。
近日,世界著名的法国传染病专家、迪迪尔拉乌尔特(Didier raoult)博士,发现了一种能够有效治疗新冠病毒的药物组合一——“羟氯喹+阿奇霉素"。通过对40名新冠病毒患者进行的研究中发现,在接受这一药物组合治疗后6天,100%的患者实现了功能性治愈。与此同时,钟南山院士在3月18日广州疫情防控新闻会上表示目前正在试验用氯喹,氯喹对病毒的转阴平均约是4天,比一般药物药快。随着氯喹类药物强势闯入大众视野,其背后的上市公司也陆续受到资本市场的关注。根据国家食品药品监督管理总局查询的信息显示,福安药业(300194)旗下拥有磷酸羟氯喹原料药批文(国药准字H20173356)。

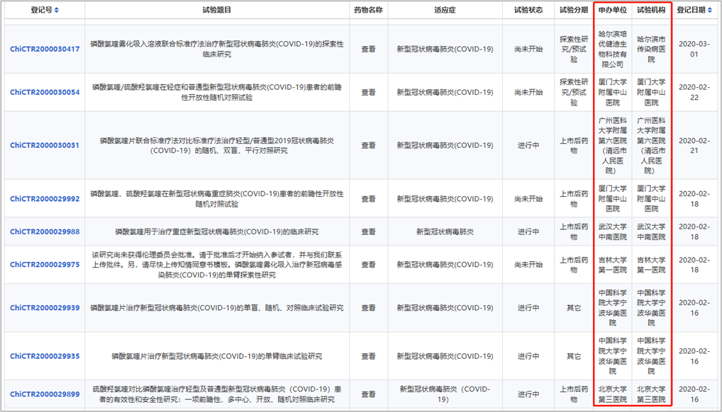
事实上,国内关于氯喹/羟氯喹用于治疗COVID-19的安全性和疗效的试验早已启动,例如北京大学第三医院、广州医科大学附属第六医院、厦门大学附属中山医院等,临床数量不少,这款经典老药焕发出了新的生机。按照药物成分来划分,目前国内已上市的氯喹类相关产品共有4类,分别为氯喹那多、氯喹、羟氯喹及氯喹那多/普罗雌烯。而,氯喹及羟氯喹是国内已上市氯喹类相关产品的主要品种,以磷酸氯喹、硫酸羟氯喹的形式存在,包括了片剂和注射剂。其中,较氯喹而言,羟氯喹的副作用更小。有机构测算,硫酸羟氯喹在国内的总体销量约10亿,市场需求巨大的同时自产供给量却明显不足。

新冠用药的利好,上市公司股价也有所反应,截至3月20日收盘,福安药业涨停收盘。值得一提的是,福安药业入选富时将于3月23日开盘前正式生效,到时有望迎来一波增量资金入场。
近日,河南华东启信企业管理服务有限公司(以下简称:华东启信)宣布成功获得500万元天使轮融资
 2025-07-10
2025-07-10近日,国内权威ESG评级机构Wind(万得)发布最新评级报告,珠海珠免集团股份有限公司(简称“珠免集...
 2025-07-10
2025-07-10近日,光峰科技第九期“星光计划”校招生培训项目正式启动。作为半导体激光光源领域的领军企业,光峰科技始...
 2025-07-10
2025-07-10投资家网(www.investorscn.com)是国内领先的资本与产业创新综合服务平台。为活跃于中国市场的VC/PE、上市公司、创业企业、地方政府等提供专业的第三方信息服务,包括行业媒体、智库服务、会议服务及生态服务。长按右侧二维码添加"投资哥"可与小编深入交流,并可加入微信群参与官方活动,赶快行动吧。
