2023-06-13 16:02:19 来源: 作者: 摘要:【#掌阅科技申请阅爱聊商标##掌阅科技申请AI相关商标#】#掌阅科技内测对话式AI应用#
【#掌阅科技申请阅爱聊商标# #掌阅科技申请AI相关商标#】#掌阅科技内测对话式AI应用#
据报道,掌阅科技(603533)6月13日宣布,旗下首款对话式AI应用“阅爱聊”开启内测。据介绍,“阅爱聊”可以对话系统中既定的角色形象,帮助读者阅读各种类型的文本内容。用户通过聊天对话的方式即可完成名著小说阅读。
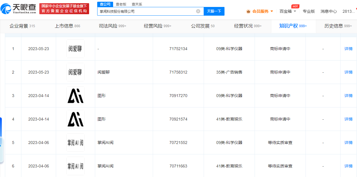
天眼查App显示,掌阅科技股份有限公司此前已申请注册多个“阅爱聊”“掌阅AI阅”等商标,国际分类包括广告销售、科学仪器、教育娱乐,当前商标状态均为申请中。

6月2日,亚马逊中国官方宣布,Kindle中国电子书店将于2023年6月30日停止运营,此后用户无法...
2022-06-03投资家网(www.investorscn.com)是国内领先的资本与产业创新综合服务平台。为活跃于中国市场的VC/PE、上市公司、创业企业、地方政府等提供专业的第三方信息服务,包括行业媒体、智库服务、会议服务及生态服务。长按右侧二维码添加"投资哥"可与小编深入交流,并可加入微信群参与官方活动,赶快行动吧。

中东已成为中国一些知名公司的投资热土。