2024-03-20 17:04:55 来源:投资家网 作者: 摘要:【#恒大地产被强制执行13亿##恒大地产累计被执行超483亿#】
【#恒大地产被强制执行13亿# #恒大地产累计被执行超483亿#】
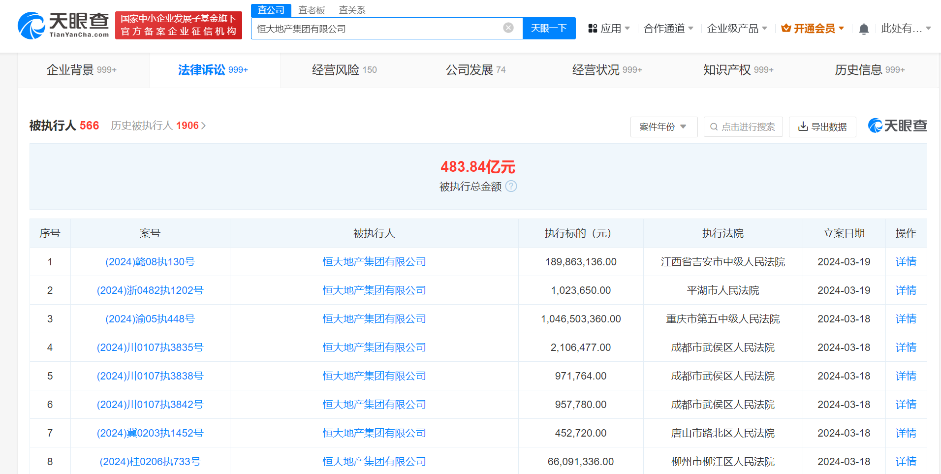
天眼查法律诉讼信息显示,3月18日至19日,恒大地产集团有限公司新增8条被执行人信息,执行标的合计13亿余元,涉及金融借款合同纠纷、票据纠纷等案件,部分案件被执行人还包括重庆同景宏航置地有限公司、恒大地产集团重庆有限公司等,执行法院为江西省吉安市中级人民法院、重庆市第五中级人民法院等。
风险信息显示,恒大地产集团有限公司现存560余条被执行人信息,被执行总金额超483亿元。此外,该公司还存在多条限制消费令、失信被执行人(老赖)和终本案件信息。

2025年5月26日,国内智能机器人企业苏州乐享智能科技有限公司(以下简称“乐享科技”)官宣完成亿元...
2025-05-26投资家网(www.investorscn.com)是国内领先的资本与产业创新综合服务平台。为活跃于中国市场的VC/PE、上市公司、创业企业、地方政府等提供专业的第三方信息服务,包括行业媒体、智库服务、会议服务及生态服务。长按右侧二维码添加"投资哥"可与小编深入交流,并可加入微信群参与官方活动,赶快行动吧。
