 2025-01-10 19:18:43    来源:投资家网  作者:
2025-01-10 19:18:43    来源:投资家网  作者:  摘要:【#小米申请注册多枚U系列商标##小米申请注册XIAOMIFU等商标#】
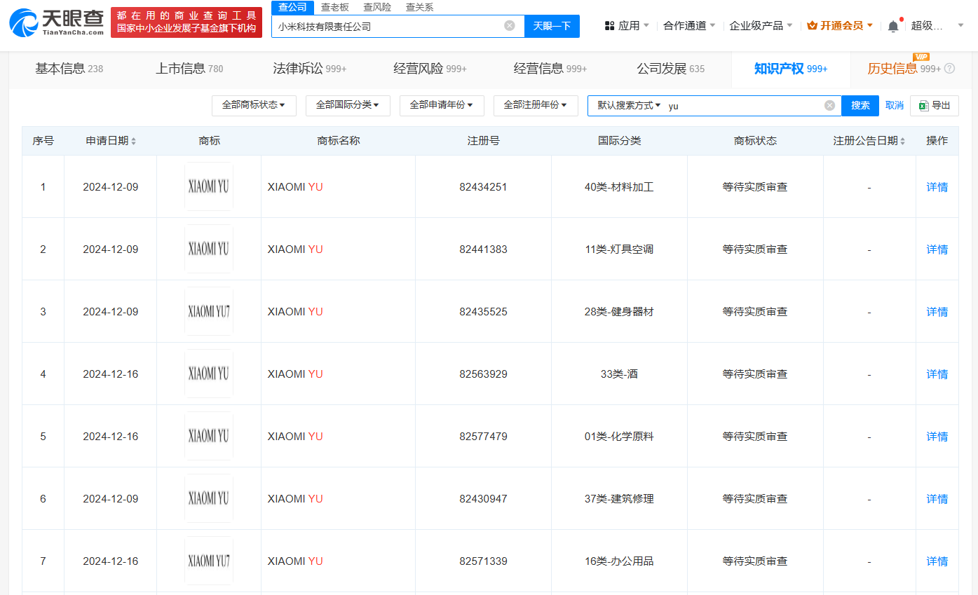
【#小米申请注册多枚U系列商标# #小米申请注册XIAOMI FU等商标#】
天眼查知识产权信息显示,近日,小米科技有限责任公司申请注册“XIAOMI FU”“XIAOMI WU”“XIAOMI OU”“XIAOMI MU”“XIAOMI GU”“XIAOMI RU”商标,国际分类为运输工具,当前商标状态均为等待实质审查。
据报道,在小米汽车SU7取得市场热烈反响后,雷军再次携小米汽车YU7进军汽车市场,这款新车预计将于今年5月份前后发布,并有望在6月或7月正式上市。此前,小米科技有限责任公司已申请注册多枚“XIAOMI SU”“XIAOMI YU”商标。

近日,创新型互联网营销技术企业——南宁东方华宸信息科技有限公司(以下简称“东方华宸”)宣布完成190...
 2025-10-10
2025-10-1010月10日上午,金叶国际集团有限公司(以下简称“金叶国际”),股票代码8549.HK,正式在香港交...
 2025-10-10
2025-10-10在刚刚落幕的 2025迪拜外汇博览会(The Forex Expo Dubai) 上,国际知名金融交...
 2025-10-09
2025-10-09投资家网(www.investorscn.com)是国内领先的资本与产业创新综合服务平台。为活跃于中国市场的VC/PE、上市公司、创业企业、地方政府等提供专业的第三方信息服务,包括行业媒体、智库服务、会议服务及生态服务。长按右侧二维码添加"投资哥"可与小编深入交流,并可加入微信群参与官方活动,赶快行动吧。
