 2025-05-11 14:44:43    来源:川观新闻  作者:
2025-05-11 14:44:43    来源:川观新闻  作者:  摘要:近日,在《康熙微服私访记》中出演“三德子”的知名演员赵亮,在抖音等平台“三德子官方旗舰店”直播间宣传的“德子土鸡”,引起网友质疑,认为该产品实际外包装商标为“德子土”,涉嫌虚假宣传。
川观新闻记者 文铭权
近日,在《康熙微服私访记》中出演“三德子”的知名演员赵亮,在抖音等平台“三德子官方旗舰店”直播间宣传的“德子土鸡”,引起网友质疑,认为该产品实际外包装商标为“德子土”,涉嫌虚假宣传。
“德子土鸡”,是否违反国家商标法等有关规定,存在误导消费者?5月8日,川观新闻记者专程前往涉事企业和注册所在地锦江区市场监督管理局采访,了解事件真相。

三德子直播间带货。
直播带货“德子土鸡”
“公司于2023年7月成立,主要从事散养鸡销售。通过生态养殖,探索农产品品牌化发展道路,助力乡村振兴发展。”涉事企业成都三德子好甄选农业科技有限公司(以下简称“三德子公司”)首席执行官马伟说。
该公司成立后以线上平台为切入点,注册“三德子官方旗舰店”入驻抖音平台,并以“三德子”为统一品牌,网络销售生态散养公鸡。
记者了解到,前期该旗舰店以视频为主,效果不太理想。去年底开始,“三德子”赵亮现身该直播间,宣传“德子土鸡”。
在赵亮的推动和直播团队努力下,该企业在抖音、快手、小红书等平台开设的账号,共计300多万粉丝。2024年,三德子公司年度销售额在7000万元左右,共销售“德子土鸡”约100万只。
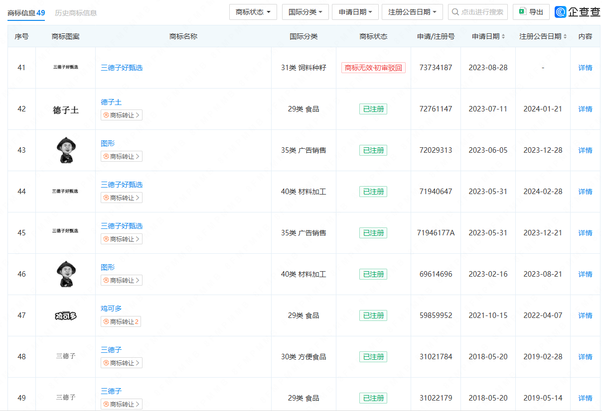
川观新闻记者通过国家知识产权局商标局公开网站查阅到,三德子公司共申请注册49个,其中已注册成功“三德子”“三德子好甄选”“德子土”“鸡可多”等商标共计12个,注册申请中有20个,除去被驳回的,与三德子和鸡相关的商标有39个。其核心商品类别属于商标第29类,已申请的商品/服务主要包括:鸡肉、肉、腌制肉、家禽(非活)、蛋等。
“之所以将‘德子土’‘德子土鸡’等商标都注册,是为了防止他人抢先恶意注册,因为陆续有其他公司模仿三德子商标注册。”马伟说。
记者了解到,目前通过线上线下销售的三德子品牌主打产品“德子土鸡”主要有两类:一是“少年公鸡”,养殖期约120天、宰杀分解后约1.5公斤;二是“青年公鸡”,养殖期约150天、宰杀分解后约2公斤。

三德子公司部分商标信息。
“德子土鸡”=“德子土+鸡”?
赵亮直播间所宣传的“德子土鸡”是否涉嫌虚假宣传?针对网友质疑,川观新闻记者来到锦江区市场监督管理局。
“我们注意到了网上这一舆情。”该局知识产权科相关人员说,根据他们掌握的情况,三德子公司确实在国家知识产权局商标局注册成功了“德子土”商标,但目前尚未投入使用。

引发网友质疑的原版包装。文铭权 拍摄

最新投用的新版包装。文铭权 拍摄
“对照《中华人民共和国商标法》,从实际使用上看,该公司商标使用合法。”该局知识产权科相关人员说。
记者从涉事公司所销售产品包装袋上发现,使用的是“三德子”商标。但在“少年公鸡”或“青年公鸡”前面,均标注有“德子土鸡”字样。
四川达宽律师事务所主任陈泽刚律师认为,商品包装上的“德子土鸡”文字部分,在“德子土”上并未标注商标标识,说明该商品并未将“德子土”作为商标使用的意图。
陈泽刚律师认为,“德子土鸡”是申请中的商标,“德子土”是注册商标,“德子土”与商品通用名称“鸡”的组合,文字字体、大小一致,成同列排行,从普通消费者的认知习惯看,“德子土”加“鸡”字会形成新的汉字组合“土鸡”,“德子土鸡”标识容易让相关公众识别为“德子”“土鸡”,容易被理解为“德子”的“土鸡”,具有新含义。
“但‘土鸡’属于民间或者市场的习惯称呼,目前国内尚无统一的强制性标准。”陈泽刚律师认为,“德子土鸡”即使被理解为“德子”的“土鸡”,或者“德子”饲养的“土鸡”,或者“德子”认可的“土鸡”,均不构成对消费者的混淆或带有欺骗性。
针对网友质疑该公司所销售的“德子土鸡”不是“土鸡”的质疑,锦江区市场监督管理局食品生产流通监督管理科相关人员也证实,目前国内没有就“土鸡”出台相关标准,只是杭州等地出台过肉鸡的地方标准。
记者在锦江区市场监督管理局还了解到,因三德子公司违法行为违反《中华人民共和国广告法》第二十八条第二款第(二)项规定,发布虚假广告,该局于今年3月13日曾对该公司作出过行政处罚,共罚款9万元,没收违法所得1.0045万元。
“那次行政处罚,是我们在销售河南‘固始鸡’时,获得的授权文件滞后所致,由此在直播销售时造成事实上的宣传与实际不符。”马伟说,这件事让公司痛定思痛,最终决定在川内建立直销养殖基地。
该公司商品部负责人张波说,为防止产品包装出现可能的瑕疵或争议,4月初,公司已对所有产品包装进行更新,取消旧版中“德子土鸡”字样,仅保留注册商标“三德子”作为品牌名。

养殖基地现场。图片由受访者提供
今年以来,三德子公司通过“公司+养殖基地+农户”模式,已在省内建立4个大型养殖基地,主要分布在绵阳市游仙区、平武县,德阳市中江县和资阳市安岳县。带动上百养殖农户参与,预计年出栏量将达到150万只。
记者了解到,由于近期网络舆情导致不少消费者退单、差评,甚至出现一些网暴行为,三德子直播间和涉事企业业务目前处于停业状态。抖音三德子官方旗舰店从节前单日50万元左右的销售额,已降至单日不足10万元;退货率从“五一”前的16.25%上升到25.94%。马伟说,针对近期网上一些恶意行为,公司已向相关平台进行投诉,并截取相应证据,保留依法追究其法律责任的权利。
声音
企业应依法经营,少打擦边球
四川瀛楷典扬律师事务所李勇刚律师:
三德子公司在产品外包装使用“德子土鸡”字样,引发网友质疑,由此导致市场波动和销售额锐减,还因相关违法行为受到行政处罚。这更加警示企业在经营过程中,应严格遵守法律规定,切忌通过打擦边球的方式误导消费者,否则将承担相应的法律责任和市场后果。
网络清朗风气需要共同维护
四川大学文化产业研究中心主任、四川省委省政府决策咨询委员会委员蔡尚伟:
一方面,网络直播带货、短视频营销等,一定要避免不诚信行为发生。另一方面,网友无限放大,甚至网暴也不可取。一些网民放大一些细节,甚至断章取义,恶意攻击他人,对他人形象造成损害,对整个社会舆论场容易形成负面导向。种种非理性、利己主义甚至极端行为,都是需要反省和反对的。一个气正风清的网络空间,最终会让众人感受到温暖。只有拥有一个良好的网络生态,每个人的生活才会更加美好。
Libra打破了 AI 必须联网的技术范式,将 AI 应用推进至本地智能新阶段,为金融、法律、医疗等...
 2025-09-29
2025-09-29上周,在全球“AI预测未来大考”的FutureX榜单上,一家叫MiroMind的AI企业连续第二周登...
 2025-09-29
2025-09-299月28日,广药集团旗下上市公司广州白云山医药集团股份有限公司(以下简称“白云山”)与南京医药股份有...
 2025-09-29
2025-09-29投资家网(www.investorscn.com)是国内领先的资本与产业创新综合服务平台。为活跃于中国市场的VC/PE、上市公司、创业企业、地方政府等提供专业的第三方信息服务,包括行业媒体、智库服务、会议服务及生态服务。长按右侧二维码添加"投资哥"可与小编深入交流,并可加入微信群参与官方活动,赶快行动吧。
