 2025-05-26 19:14:08    来源:投资家网  作者:
2025-05-26 19:14:08    来源:投资家网  作者:  摘要:【#碧桂园地产所持10亿股权被冻结#】
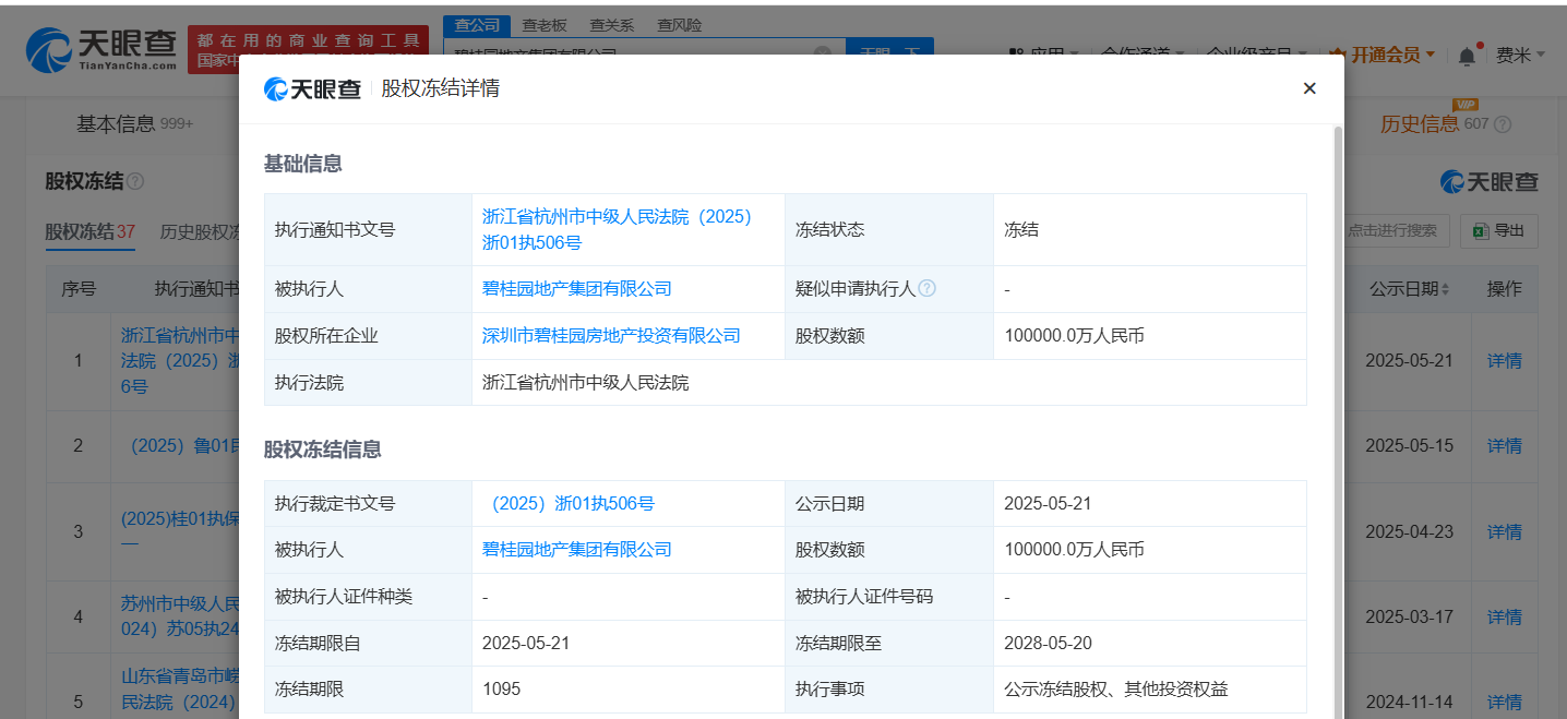
【#碧桂园地产所持10亿股权被冻结#】
天眼查深度风险信息显示,近日,碧桂园地产集团有限公司新增一则股权冻结信息,股权所在企业为深圳市碧桂园房地产投资有限公司,冻结股权数额10亿人民币,冻结期限自2025年5月21日至2028年5月20日,执行法院为浙江省杭州市中级人民法院。
深圳市碧桂园房地产投资有限公司成立于2015年8月,法定代表人为王富学,注册资本约11.1亿人民币,经营范围包括房地产信息咨询、自有物业租赁、投资管理等,由碧桂园地产集团有限公司、增城市碧桂园物业发展有限公司共同持股。

自今年5月起,ST路通新老股东围绕控制权展开多轮博弈,公司董事会先后多次拒绝由公司股东提请、由公司监...
 2025-08-12
2025-08-12中国资本市场在改革向深、开放向广的进程中,正朝着成熟度提升、规则更完备、运转更高效的方向稳健前行。
 2025-08-12
2025-08-12正规贵金属平台有哪些?本文基于金融市场中,以权威监管资质、技术实力、资金安全及用户口碑等核心维度,精...
 2025-08-12
2025-08-12投资家网(www.investorscn.com)是国内领先的资本与产业创新综合服务平台。为活跃于中国市场的VC/PE、上市公司、创业企业、地方政府等提供专业的第三方信息服务,包括行业媒体、智库服务、会议服务及生态服务。长按右侧二维码添加"投资哥"可与小编深入交流,并可加入微信群参与官方活动,赶快行动吧。
