2025-06-15 20:49:00 来源:投资家网 作者: 摘要:【#小米向Kimi转让商标##小米将多枚商标转让至Kimi#】
【#小米向Kimi转让商标# #小米将多枚商标转让至Kimi#】
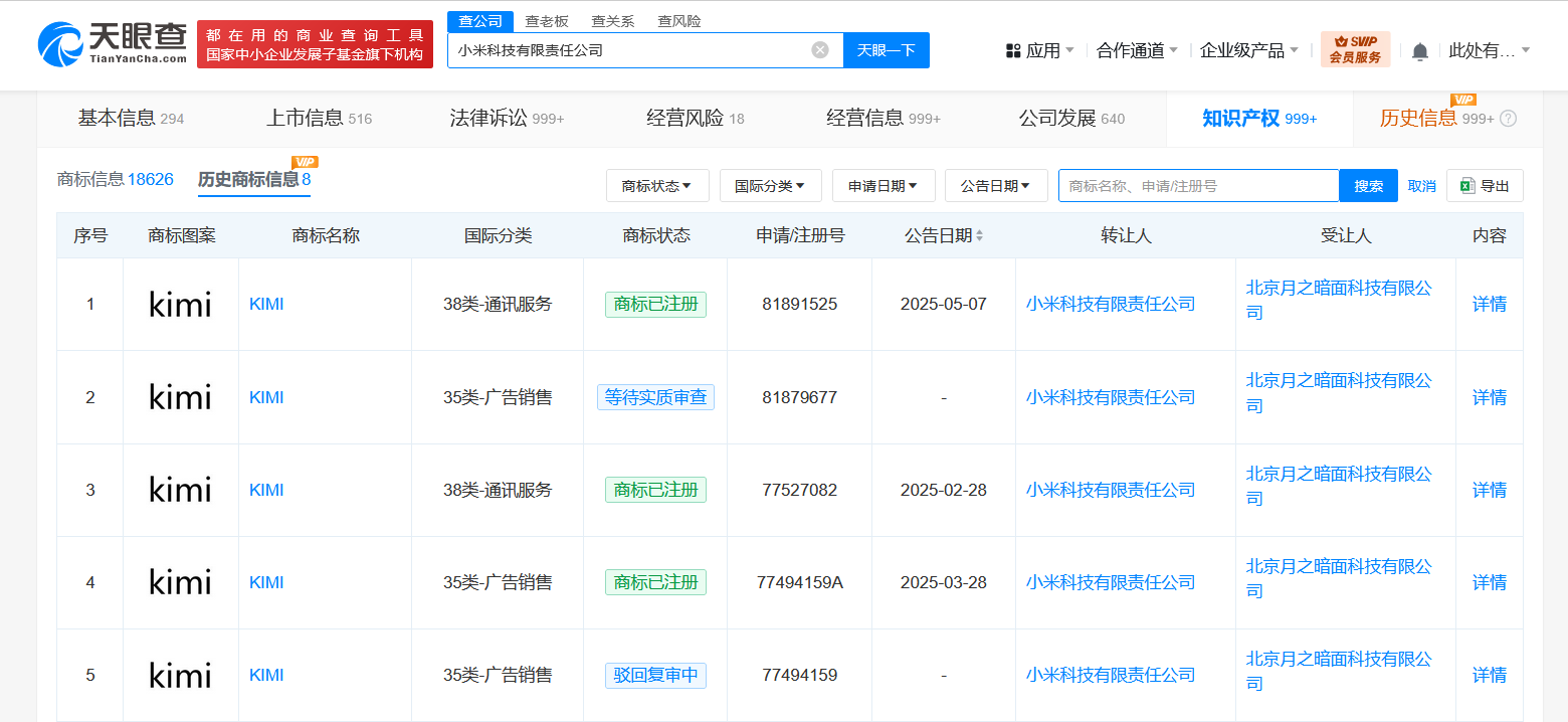
天眼查知识产权信息显示,近日,小米科技有限责任公司将多枚“kimi”商标转让至北京月之暗面科技有限公司,上述商标最早申请于2013年,当前上述商标状态多为已注册。
北京月之暗面科技有限公司成立于2023年4月,法定代表人为杨植麟,注册资本100万人民币,经营范围含软件开发、软件销售、人工智能基础软件开发、人工智能应用软件开发、计算机系统服务、信息技术咨询服务等,由杨植麟、周昕宇、吴育昕等5位股东共同持股。
公开信息显示,Kimi是北京月之暗面科技有限公司于2023年10月9日推出的一款智能助手,主要应用场景为专业学术论文的翻译和理解、辅助分析法律问题、快速理解API开发文档等。

6月19日,工业富联召开股东大会,审议通过2024年度分红方案,将向全体股东按每10股派发现金红利6...
2025-06-205 月 20 日,长江商学院 CEO 班级 60 位企业家组成的高规格参访团踏入子呈基金,一场聚焦...
2025-06-20当科创板的钟声激荡起创新的号角,一场足以载入商业史册的跨界互动,正以颠覆性的姿态重新定义投资圈的交流...
2025-06-206月18日,由新财富主办的“新质引领 芙蓉绽放”新财富上市公司可持续发展年会暨第二十一届新财富金牌董...
2025-06-20投资家网(www.investorscn.com)是国内领先的资本与产业创新综合服务平台。为活跃于中国市场的VC/PE、上市公司、创业企业、地方政府等提供专业的第三方信息服务,包括行业媒体、智库服务、会议服务及生态服务。长按右侧二维码添加"投资哥"可与小编深入交流,并可加入微信群参与官方活动,赶快行动吧。
