2024-07-04 15:55:19 来源:投资家网 作者: 摘要:【#融创等被强制执行34.8亿#】
【#融创等被强制执行34.8亿#】
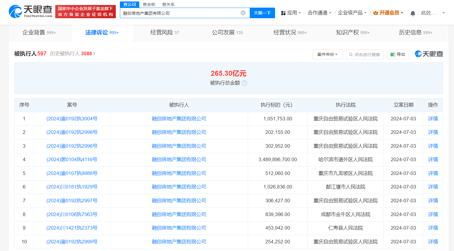
天眼查App显示,近日,融创房地产集团有限公司、天津星耀投资有限公司、武汉塔子湖置业有限公司、大连融创颢腾房地产开发有限公司等多家公司新增一条被执行人信息,执行标的合计34.89亿余元,执行法院为哈尔滨市道外区人民法院。
天眼风险信息显示,融创房地产集团有限公司现存590余条被执行人信息,被执行总金额超265亿元。此外,该公司还存在多条限制消费令、失信被执行人(老赖)和终本案件信息。

近日,专注于汽车金融领域的金融科技企业——江苏星元数科软件科技有限公司宣布完成1000万元天使轮融资...
2026-01-19在国际金价高位震荡的2026年初,超过500万国内投资者已将黄金视为资产配置的核心选择之一,他们面临...
2026-01-19美国时间1月12日至1月15日,第44届摩根大通全球医疗健康大会(以下简称:JPM大会)在美国旧金山...
2026-01-19吉林中信三公里社群生活服务有限公司完成1000万元天使轮融资,加速全国连锁布局
2026-01-19近日,金健委健康科学研究院(福建)有限公司宣布成功完成5000万元A轮融资,由多家知名机构领投,本轮...
2026-01-19近日,国内领先的饮品行业仓配一体化服务商——品饮云仓(杭州)科技有限公司(以下简称“品饮云仓”)宣布...
2026-01-19近日,广东梅雁吉祥水电股份有限公司(证券代码:600868,证券简称:梅雁吉祥)披露2025年年度业...
2026-01-19在全面推进健康中国建设、规范大健康产业发展的时代背景下,目前,国家对药品、医疗器械、保健食品等大健康...
2026-01-182026年1月16日,以“AI OPC 创作者时代”为核心主题的北斗智影 AI OPC 超级个体发布...
2026-01-17投资家网(www.investorscn.com)是国内领先的资本与产业创新综合服务平台。为活跃于中国市场的VC/PE、上市公司、创业企业、地方政府等提供专业的第三方信息服务,包括行业媒体、智库服务、会议服务及生态服务。长按右侧二维码添加"投资哥"可与小编深入交流,并可加入微信群参与官方活动,赶快行动吧。

中东已成为中国一些知名公司的投资热土。