2026-02-09 12:58:57 来源:米内网 作者: 摘要:近日,康缘药业的中药1.1类新药双鱼颗粒提交NDA获受理,距离获批上市又近了一步。
近日,康缘药业的中药1.1类新药双鱼颗粒提交NDA获受理,距离获批上市又近了一步。该药主要用于流行性感冒(风热犯卫证),米内网数据显示,近年来中国三大终端六大市场感冒中成药销售额均超过200亿元。

据悉,双鱼颗粒具有清热解毒、疏风凉血的功效,用于治疗流行性感冒(风热犯卫证),症见发热,咽痛,咳嗽,鼻塞流涕,头痛,肌肉酸痛,乏力,恶风,舌质红,苔薄黄,脉浮数等。
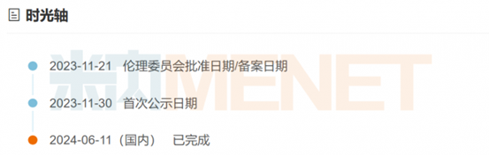
米内网数据显示,康缘药业于2023年11月公示双鱼颗粒的III期临床试验(登记号为CTR20233845);2024年6月,该临床试验顺利完成,并于2026年2月申报NDA获受理(受理号为CXZS2600012),上市可期。
双鱼颗粒III期临床开展情况

来源:米内网中国临床试验数据库
近年来,中国三大终端六大市场(统计范围详见本文末)感冒中成药的市场规模有所波动,但始终维持在200亿元以上。
在2025年前三季度感冒中成药TOP5品牌中,华润三九的感冒灵颗粒、复方感冒灵颗粒分别位列第一、第四,以岭药业的连花清瘟颗粒、连花清瘟胶囊分别位列第二、第五,陕西海天制药的四季抗病毒合剂排位第三。
2025Q1-Q3中国三大终端六大市场感冒中成药TOP5品牌

来源:米内网格局数据库
康缘药业是国内中药创新药龙头企业之一,2020年至今,公司已有9款中药新药获批上市,包括银翘清热片、筋骨止痛凝胶、参蒲颗粒3款中药创新药,以及泻白散颗粒、玉女煎颗粒、温阳解毒颗粒、散寒化湿颗粒、济川煎颗粒、苓桂术甘颗粒6款古代经典名方中药复方制剂。
2020年以来康缘药业获批上市的中药新药

来源:米内网中国申报进度(MED)数据库
此外,据不完全统计,康缘药业还有5款中药新药已报产在审。其中,中药1.1类新药双鱼颗粒、苏辛通窍颗粒、六味地黄苷糖片分别于2026年2月、2025年12月、2025年3月提交NDA,分别用于治疗流行性感冒(风热犯卫证)、持续性变应性鼻炎、女性更年期综合征(肾阴虚证)。
康缘药业报产在审的部分中药新药

来源:米内网中国申报进度(MED)数据库
在历经了行业的周期性波动与调整后,北京北摩高科摩擦材料股份有限公司(002985)交出了一份堪称“V...
12小时前基于联想集团和英伟达双方多年合作推出的全新“AI+体育”解决方案,旨在全面提升球迷体验、推动收入增长...
12小时前2025年双11大促落下帷幕,复旦消费大数据实验室发布的数据显示,全网零售额再创新高,达到近2.4万...
2025-11-2111月20日,第十六届 (北京) 人力资源博览会暨2025HR年终盛典在北京富力万丽酒店盛大启幕。
2025-11-2111月18日-20日,由中国连锁经营协会(CCFA)主办的2025中国连锁企业人力资源峰会在上海国际...
2025-11-2111月以来,渤海人寿各分支机构以“为民办实事”为核心导向,紧扣消保常态化教育宣传周契机,组织开展了一...
2025-11-21投资家网(www.investorscn.com)是国内领先的资本与产业创新综合服务平台。为活跃于中国市场的VC/PE、上市公司、创业企业、地方政府等提供专业的第三方信息服务,包括行业媒体、智库服务、会议服务及生态服务。长按右侧二维码添加"投资哥"可与小编深入交流,并可加入微信群参与官方活动,赶快行动吧。

中东已成为中国一些知名公司的投资热土。